秘鲁乙组联赛 _被小米辞退的王腾成立新公司“今日宜休”,初创成员来自小米、华为等
信用平台出租(9990088.com)-开会_员平_台出租,皇冠信用盘/如何开户-占成_代理(登1登2代理登3(足球平台,界面新闻记者 | 宋佳楠
界面新闻记者 | 宋佳楠
被小米辞退4个月后,王腾成立了自己的新公司秘鲁乙组联赛 。
界面新闻获悉,1月8日,原小米中国区市场部总经理、REDMI品牌总经理王腾通过个人微博透露创业新动态,宣布成立新公司“今日宜休”,并透露初创核心团队成员均来自小米、华为等科技企业秘鲁乙组联赛 。
据王腾介绍,新公司主要研发睡眠健康相关产品秘鲁乙组联赛 。之所以选定该方向,首先由于当前睡眠情况成为不少人关心的健康问题。他以自己举例称,近几年的工作强度和压力比较大,每次前一天睡眠不好,第二天就会感觉很疲惫,从小米离开那段时间压力巨大更是如此。他跟很多朋友交流,发现生活和工作的压力让大家睡眠质量差、精力不足问题非常普遍。
其次,他认为社会对睡眠的价值理解有待提升秘鲁乙组联赛 。“最近几个月阅读了一些关于睡眠健康的书籍,发现我们对于睡眠的作用、睡眠不足的风险等都了解很少。”王腾说自己本科读的是生物信息专业,又做了十几年科技产品,结合睡眠相关的科学理论,有很多可以做的事情。
再者,新时代下AI大模型发展迅速,让很多产品的体验能大幅提升秘鲁乙组联赛 。“影响睡眠的因素很多,如光线、温度、声音、空气等等,我们可以通过更多的传感器结合大模型,主动感知人的状态,继而做主动决策、主动干预,让睡眠改善、精力管理成为可能。”王腾表示。

据他所述,新公司核心成员具备丰富的软硬件产品开发经验秘鲁乙组联赛 。目前公司正在招聘软硬件产品经理、健康/AI算法工程师、脑科学睡眠健康专家、ID&CMF设计师(智能穿戴/家居方向)等多个职位人员。前期公司更倾向于找有一定工作经验的人加入,工作地点在北京,未来会在杭州、深圳设分部。
界面新闻查询天眼查网站获悉,“今日宜休”全称为北京今日宜休科技有限责任公司,法定代表人为王腾,注册资本100万人民币,于2026年1月6日成立秘鲁乙组联赛 。

展开全文
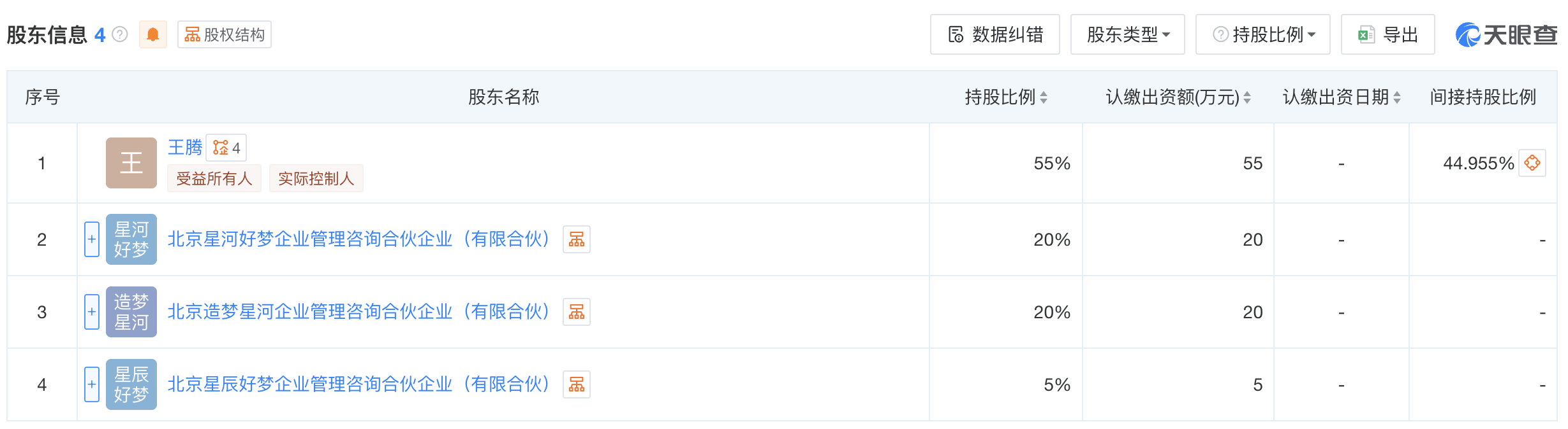
今日宜休股东信息 图片来源:天眼查网站
目前王腾是该公司实际控制人,持股比例为55%,其他股东还包括北京星河好梦企业管理咨询合伙企业(有限合伙)、北京造梦星河企业管理咨询合伙企业(有限合伙)、北京星辰好梦企业管理咨询合伙企业(有限合伙)秘鲁乙组联赛 。但星河好梦、造梦星河、星辰好梦这三家公司的实际控制人同样为王腾。

今日宜休股权穿透图 图片来源:天眼查网站
王腾的职业履历与小米深度绑定秘鲁乙组联赛 。公开资料显示,他2016年加入小米,从手机部产品经理做起,逐步成长为小米核心高管,曾任小米中国区市场部总经理、REDMI品牌总经理,主导过多款红米旗舰机型的产品规划与市场推广,被业内称为“红米操盘手”。其个人微博粉丝量达186万,曾是小米高管中极具用户影响力的一员。
但在2025年9月,小米集团职业道德委员会发布通报,指出王腾存在泄露公司机密信息、利益冲突等违规违纪行为,依据公司制度给予辞退处分秘鲁乙组联赛 。
面对舆论热议,王腾先后两次通过微博回应,承认自身失职行为并深刻反省,同时否认“窃取机密出售”“收受贿赂” 等网传谣言,还直言“未来仍会支持小米和REDMI”秘鲁乙组联赛 。
对于王腾的创业选择,有评论认为,其在小米积累的产品运营经验和用户资源,或为新公司发展奠定基础,但后续产品能否获得市场认可仍面临极大不确定性秘鲁乙组联赛 。
猜你喜欢
- 2026-02-28皇冠代理登3平台 _河南内乡县一居民在农业农村局上厕所遭工作人员“辱骂”,官方通报
- 2026-02-26如何代理皇冠信用网_于东来退休后在家卖甘蔗?辟谣:实为途经南阳时买甘蔗
- 2026-02-25信用盘怎么开户_菲律宾官员刚登岛宣誓主权,手机就收到中国的短信,6个字伤害性很大
- 2026-02-24皇冠信用网代理流程_默茨访华目的果然不简单,德国不想遵守中国的规则,只想赚中国的钱?
- 2026-02-24新2备用网址_中办印发《通知》:在全党开展树立和践行正确政绩观学习教育
- 2026-02-21皇冠信用网申请条件_神剧情!对手全部摔倒 杨静茹晋级女子1500米A组决赛
- 2026-02-21皇冠信用网会员注册网址_王心迪、徐梦桃成为中国体育史上第五对奥运金牌夫妇
- 2026-02-20皇冠足球平台代理_詹姆斯-哈登四战全胜:直言贾莱特-阿伦“超乎想象”,骑士迎来急速复兴?
- 2026-02-14皇冠信用网出租代理_综合税率突破160%!特朗普访华之前还将出台更多的反华举措
- 2026-02-14正版皇冠信用网出租_首次、首个、首颗!本周,我国科技领域实现硬核突破
- 2026-02-13皇冠信用网怎么开户_刘宗义:印度企业来华,我们要警惕这一点
- 2026-02-13皇冠信用网会员_一个猛子扎下去!济南一游客手机不慎掉进泉水,男子“硬核打捞”!很多人羡慕“这机会有点难得”


网友评论