皇冠信用在线开户_37岁男演员于朦胧被传坠楼,7月刚注销工作室,警方回应
时间:2025-09-11 阅读:1097
皇冠信用网怎么开户(9990088.com—)开会员号,招代理/条件好/平台出租/招登1登2登3地区代理据中国蓝新闻,9月11日,演员于朦胧冲上热搜,有网友称于朦胧今日在北京坠楼,目前于朦胧方无回应皇冠信用在线开户。

于朦胧主页显示,其上次更新动态是8日前,昨天21:31还上线了微博皇冠信用在线开户。目前,于朦胧方暂无回应。

据三湘都市报,记者联系了北京市朝阳区常营派出所,派出所民警称没有收到相关消息皇冠信用在线开户。

展开全文
于朦胧,1988年6月15日出生于新疆维吾尔自治区乌鲁木齐市,毕业于北京演艺专修学院,中国内地男演员、歌手、MV导演皇冠信用在线开户。

2007年,参加东方卫视选秀娱乐节目《我型我秀》,获得西安站16强皇冠信用在线开户。2010年,参加选秀节目《快乐男声》被选入“快乐天团”候选人;同年,担任丁爽歌曲《61秒》的MV导演。2013年,参加湖南卫视选秀娱乐节目《快乐男声》,获得全国总决赛第十名。2015年,主演的古装穿越剧《太子妃升职记》播出,获得大量关注。代表作品有《三生三世十里桃花》《太子妃升职记》《永夜星河》《一伞烟雨》等。

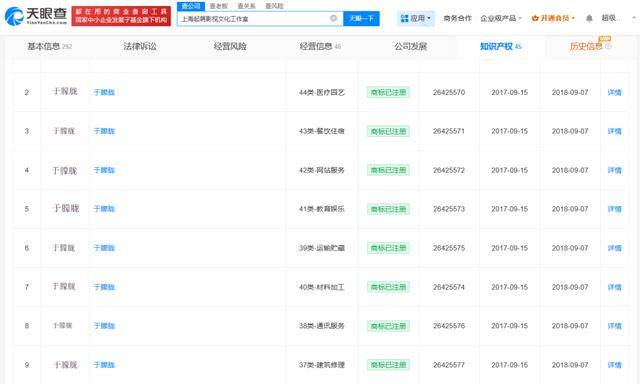
天眼查任职信息显示,于朦胧名下关联2家工作室,分别为上海起萌影视文化工作室、东阳鲜萌影视文化工作室,均为注销状态皇冠信用在线开户。其中,上海起萌影视文化工作室成立于2017年8月,于2024年11月注销,出资额500万人民币,为于朦胧个人独资企业。知识产权信息显示,该工作室已成功注册多枚“于朦胧”商标。此外,东阳鲜萌影视文化工作室成立于2016年9月,于2025年7月注销,出资额0.05万人民币,为于朦胧个人独资企业。




猜你喜欢
- 2026-04-18皇冠tg @mos011 _伊朗外长称霍尔木兹海峡开放 多艘油轮迅速前往
- 2026-04-16皇冠ag hga039 _顺峰餐厅北京门店全部关闭:司法纠纷不断,消费者上万储值打水漂?
- 2026-03-21皇冠信用网注册 _上海一女子路遇警察盘查,突然调转车头加速逃离!经查:其四肢健全,未持有残疾证,已被拘留
- 2026-03-20皇冠信用盘登 _阿曼外交大臣撕开口子:谁在定义美国的伊朗战争
- 2026-03-19皇冠足球管理平台出租 _东契奇40+9+10杜兰特18分 老詹30分湖人三天内双杀火箭
- 2026-03-17正版皇冠信用盘 _伊朗称查获并扣押数百套由美以方面输送的“星链”设备,购买和使用者将面临严厉处罚
- 2026-03-16皇冠信用盘会员开户申请 _伊朗战争后黄金为何下跌?摩根大通:市场动荡初期,黄金往往首先被抛售,此后或迅速转涨
- 2026-03-15皇冠信用盘需要押金吗 _回旋镖太狠,美给乌情报炸莫斯科,如今自己基地被炸,俄还有底牌
- 2026-03-15怎么注册皇冠信用盘 _北京今天气温回升,但别急着收冬装!下周还有冷空气
- 2026-03-15世界杯皇冠代理平台 _闪评 | 美国GDP数据遭大幅下修 “滞胀”风险或再次回归
- 2026-03-14皇冠信用盘在线申请 _负分清零!中超-克雷桑传射谢文能建功 泰山2-1国安迎2连胜
- 2026-03-14皇冠信用盘如何注册 _网上一票难求、现场人山人海,上海正式进入F1时间!预计三天吸引23万观众,车迷澳洲看完又赶来:很有参与感


网友评论