皇冠登一登二登三区别_终身禁止!火箭军倒查九年 揪出采购掮客 围标央企浮出水面
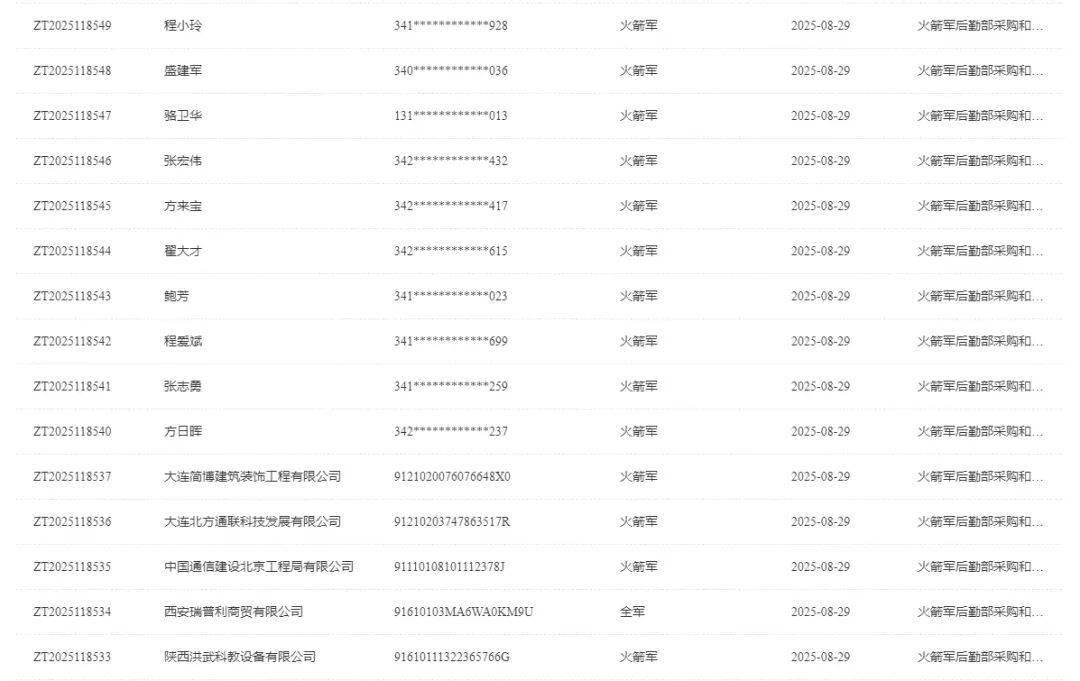
世界杯皇冠足球平台(www.9990088.com)-开会_员出_租平_台,皇冠信用网/—开会员账号—(招登1登2登3(平台出租,8月28日至9月1日,火箭军后勤部采购和资产管理局发布180条公告,宣布终止74位评标专家和116家供应商的资格皇冠登一登二登三区别。这些供应商被停止参与投标军队采购项目的权利,评标专家则失去参与军队项目评审的资格。
评标专家的处罚理由基本都是“评审错误影响评审结果”,记者注意到,这些评标专家涉及的项目年代都很久远,有一位专家是因为在2016年的一个项目中评审错误而失去评标资格皇冠登一登二登三区别。也就是说,采购部门在审核9年前的采购项目,寻找违规案件并对相关人员和企业进行处罚。
还有一些专家的错误就非常严重了,比如有一位专家,他的违规行为被定义成“掮客”皇冠登一登二登三区别。
所谓“掮客”是指既不拥有产品所有权,又不控制产品实物价格以及销售条件,只是在买卖双方交易洽谈中起媒介作用的中间商皇冠登一登二登三区别。本应客观中立评审的专家变成了“掮客”对采购秩序的影响非常恶劣。因此该专家被终身禁止评审军队采购项目,他控股或管理的企业也禁止参加军队采购活动,同时终身禁止他代理其他供应商参加军队采购活动。
而被处罚的供应商中也有央企的身影皇冠登一登二登三区别。该公司具备通信工程施工总承包一级资质、电子与智能化工程专业承包一级资质,参与建设了国家“八横八纵”骨干光缆通信网络、南极科考通信保障等重大工程,并承接多项国家级援外通信建设项目。
军队采购网公告显示,该公司在军队采购项目中存在围标行为,因此自2025年8月29日起暂停其参加火箭军物资工程服务采购活动资格皇冠登一登二登三区别。
某邮政速递物流股份有限公司因投标提供虚假材料而被取消全军采购资格皇冠登一登二登三区别。



猜你喜欢
- 2026-03-10皇冠信用登1_上海七旬老人与牌友聚餐后离世!5名同饮者遭索赔34万元......法院判了
- 2026-03-08世界杯皇冠信用代理_微镜头·习近平总书记两会“下团组”丨中国式现代化,每个人都是主角
- 2026-03-07皇冠信用网怎么代理_破釜沉舟!伊朗发射子母弹猛轰,击落37架无人机,中东被炸成火海
- 2026-03-06皇冠信用盘哪里申请_亚洲杯-邵子钦点射李晴潼双响 中国女足3-0乌兹提前出线
- 2026-03-05皇冠信用盘申请_历史近在眼前!亚历山大连续124场20+ 距登顶只差3场
- 2026-03-04皇冠信用盘开户 _哈梅内伊之子将接任最高领袖?特朗普:我们定好的人选都被炸死了
- 2026-03-03皇冠信用网在线申请 _烟台一只狗被困井下约3年后获救,救援人员:期间一直有人投喂,设了机关才被救
- 2026-03-02皇冠信用网代理如何注册 _费迪南德评曼联半场表现:开局太糟糕了,舍什科需要更多参与进来
- 2026-02-28皇冠信用盘登2登3 _雷军直播介绍新一代SU7门把手:一旦发生碰撞,门锁自动切换机械解锁模式
- 2026-02-28如何申请皇冠信用网_中方宣布:调整对原产于加拿大的部分进口商品加征关税措施!不加征对油渣饼、豌豆加征的100%关税以及对龙虾、蟹加征的25%关税
- 2026-02-27皇冠信用网登1,登2,登3出租_美官员:若打伊朗将消耗大量弹药,从而给中国创造武统机会
- 2026-02-27皇冠信用怎么弄_FIBA官方社媒称“中国男篮偷走胜利”!评论区翻车


网友评论