皇冠信用网在线注册_2023年社工新考生考试报名注册及学历在线核验流程?
皇冠信用盘足球代理(www.hg01.vip)-开会_员出_租平_台,皇冠体育/—开会员账号—(招登1登2登3管理(代理出租,2023年的社工考试定于6月10、11日举行,社工考试报名将于3-4月开启,对于计划参加此次考试的新考生,应及早注册及完善学历信息皇冠信用网在线注册。
考试报名前,小羊提醒大家先完成这三步:账号注册,照片上传,学历核验皇冠信用网在线注册。
尤其学历核验需24小时才能通过审核,所以提前完成这些步骤很有必要,届时报名通道开启,就直接可以报名啦皇冠信用网在线注册。

01新用户账号注册操作流程
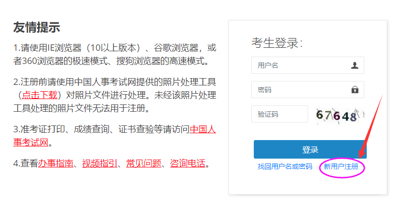
1、进入中国人事考试网皇冠信用网在线注册,选择【网上报名入口】进入登录页面,点击【新用户注册】

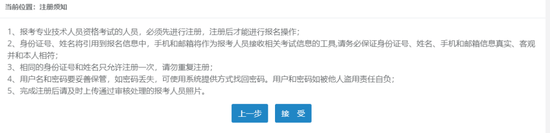
2、接受【专业技术人员资格考试网上报名协议】——查看【注册须知】

展开全文
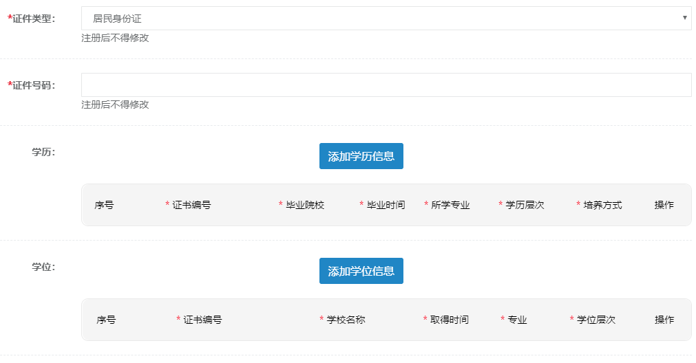
3、填写注册信息皇冠信用网在线注册。其中带*号的是必填项;证件号码,可以选择使用身份证、军官证、护照或港澳台居民身份证进行注册。其中一定要牢记邮箱和密码找回问题,以便找回密码。


4、填写完毕确认无误后点击【提交】,出现信息确认,需要考生重新输入姓名、证件号码进行确认皇冠信用网在线注册。点击【确定】后,提示“注册成功”,再点击【确定】,系统自动返回考生登录界面,填写用户名、密码、验证码后即可登录系统。
重要提示:
(1)一个身份证号和姓名只能注册一次皇冠信用网在线注册,请勿重复注册
(2)确保身份证号、姓名、邮箱和手机信息完整准确
(3)牢记用户名和密码皇冠信用网在线注册,丢失或忘记后用下面方法找回
(4)如姓名中有生僻字无法输入,可以使用同音字加中括号代替皇冠信用网在线注册。
02报名考生学历在线核验步骤
一、新考生皇冠信用网在线注册,未注册账号人员
打开“全国专业技术人员资格考试报名服务平台”,未注册账号,请先点击注册,注册时填写学历信息皇冠信用网在线注册。

二、老考生或已注册账户人员
请直接点击登录,再点击右侧的学历学位信息维护皇冠信用网在线注册。(注意:没有学位,可以不填写学位信息。如果毕业证书不在身边,可以在学信网中查看你自己的“教育部学历证书电子注册备案表 ”,上面有证书编号的。)

注意事项
核验结果查看
核验结果查看:在线核验结果一般在24小时后可以查看核验状态皇冠信用网在线注册。查看方式如下:1.登录报名系统,点击右上角“注册维护”,进入页面后点击“修改学历”。如下图所示

猜你喜欢
- 2026-04-15皇冠信用账号怎么开 _西双版纳泼水节2女子遭多人高压水枪喷射,拒绝仍被“围攻”,文旅局工作人员:将记录上报
- 2026-04-15皇冠体育 _菲律宾政坛变天?马科斯被催辞职,杜特尔特之子担任党总裁
- 2026-04-13皇冠信用网注册_周末打虎!涉嫌严重违纪违法,丁业现被查
- 2026-04-11皇冠信用网代理流程_湖人背水一战:詹姆斯领衔,力争季后赛主场优势
- 2026-04-11皇冠信用网代理注册_郑丽文答凤凰记者:必须在台湾赢得选举,才能落实我们的政治主张
- 2026-04-10皇冠信用网哪里申请_中东变天!沙特科威特联手反击:不再当伊朗的“政策人质”
- 2026-04-10皇冠信用网代理流程_贯通盲道、解决非机动车停放难……上海启动新一轮“便捷出行”民心工程,将集中力量两年内打通上海火车站换乘通道
- 2026-04-10皇冠信用网代理申条件_伊朗举行大规模哀悼活动 悼念已故伊朗最高领袖阿里·哈梅内伊遇害40日
- 2026-04-10皇冠2登录welcome_男子驾驶路虎车加油后逃单?工作人员:加了500元!只能自掏腰包补上......
- 2026-04-09世界杯皇冠足球平台_特朗普果然翻脸了,不承认停火方案,伊朗再次关闭海峡:不服继续打
- 2026-04-08皇冠信用网如何开户_视频丨美政府威胁袭击伊朗民用设施言论引发各方强烈批评
- 2026-04-07皇冠信用网在线申请_安徽6岁女童家门口失联超5天,警方通报:已遇害,犯罪嫌疑人柳某某(女,35岁)抓获归案


网友评论